【综合】中铁十五局集团有限公司 2020年春季校招

  • 单位性质:未知
  • 单位行业:未知
  • 单位规模:--请选择--
  • 工作城市:上海市,四川省,河南省,江苏省
  • 发布日期:2020-04-23 08:42
  • 浏览次数:861

公告详情

企业简介:

中铁十五局集团有限公司是一支位居世界500强第59位的中国铁建股份公司旗下的基建劲旅,集团总部位于上海市静安区共和新路666号。
集团公司是集设计、施工、科研为一体的国有建筑工程总承包集团,拥有铁路工程、公路工程、市政公用工程、房屋建筑工程施工总承包“四特”级;铁路、公路、房建、水利水电、市政公用工程施工总承包壹级资质21个,以及桥梁工程、隧道工程、公路路面、铁路铺轨架梁等专业承包壹级资质31个,具有开展国外经济合作业务的资格。集团主要业务涉及八大板块,即工程承包板块、铁路运营板块、资本运营板块、房地产开发板块、物流贸易板块、工业制造板块、海外工程板块、勘察设计板块,年施工能力达500亿元以上。集团公司先后承建80余项重点铁路工程,100余项一级以上高等级公路工程,80余项大型市政、城市轨道交通工程及多项大中型水利水电工程、房建工程。在秦沈、武广、沪昆、广深港客运专线和京沪、香港高铁等10余条客运专线及高速铁路工程建设中,创造了极其辉煌的业绩。集团公司现为“全国优秀施工企业”、“国家级技术中心”“全国质量效益型先进企业”、“全国守合同重信用企业”、“全国精神文明建设工作先进单位”、“中央企业先进集体”、“上海市高新技术企业”、“上海市文化创新十佳品牌”、“上海市文明单位”。
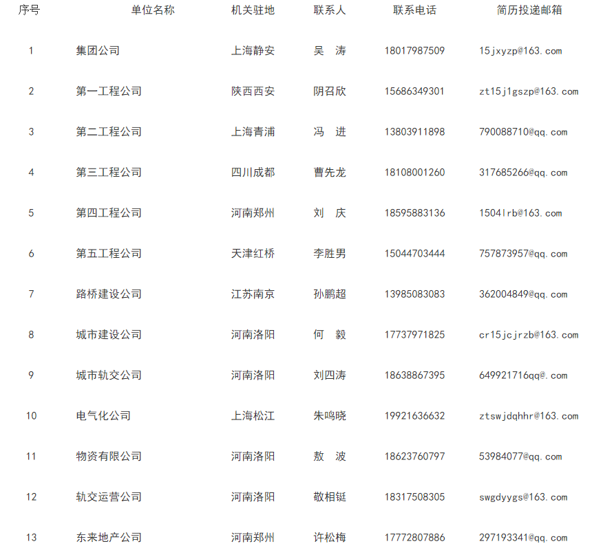
集团公司下设15个全资子公司,1个分公司,12个区域经营指挥部,1个海外事业部,20余个直管项目指挥部。能为大学生提供就业机会的下属子、分公司分别是:
中铁十五局集团公司以地处经济发达的区位优势、海纳百川的归属优势、崇尚人才的激励优势、前景看好的发展优势和专业固化、区域固化、团队固化的“三固化”原则,竭力为全体员工打造就业属地、平台丰富、专业明显、成长快速、晋升多向、生活优美、环境优质的工作、成长及生活环境,热诚期待广大毕业生加盟,共同为强大企业、幸福员工努力奋斗! 

招聘条件及要求:

招聘条件:二本以上应届毕业生,身体健康,成绩优秀,正常毕业;

需求专业:土木类、测绘类、无机材料类、机械类、工程管理类、工程造价类、铁路四电、轨道运营类、安全管理类、经济管理类、财务类、法律类、中文类。

职业发展通道:

行政通道:部员→项目部门主管→副经理级→ 经理级→子公司副总经理级→子公司总经理级→集团副总经理级→集团总经理、董事长级

技术通道:助理级→中级→副高→ 教高→次席专家(子公司总经理级)→首席专家(集团公司总助级)

职业经理:副经理→二级经理→一级经理(子公司副总经理级)→特级经理(子公司总经理级)

薪资福利待遇:

1.薪酬=岗位工资+工龄工资+绩效工资+加班工资+津补贴
2.第一年本科基本岗位工资5000元以上,研究生基本岗位工资6500元以上,综合年薪7-11万;
3. 缴纳五险两金;免费提供食宿、生活劳保用品,报到即配发笔记本电脑;
4.发放防暑降温补贴、交通补贴、通信补贴、执业资格证书津贴等,特别是对于取得各专业执业资格证书(注册结构工程师、岩土工程师、一级建造师、安全工程师、造价工程师、会计师等)的,给予每证每月1000-5000元的优厚津贴补助,津贴实行累加制,上不封顶;
5.集团公司拥有完善的休假制度,主要包括法定假日、年休假、婚假、探亲假、产假、护理假、病假、相亲假等。

工作地点:可根据个人意愿安排到全国各省市工作。根据集团发展战略,对于落户到宁波的学生给予研究生6万、本科生2万6千元的落户补贴。

对于通过研究生、公务员考试学生,直接办理解约手续,不承担违约责任。 

集团及下属单位人力资源部门招聘专员联系方式:

微信图片_20200423084001.png